おかげさまで開設25周年FREEVIDEO.PL 創業祭

FREEVIDEO.PL

詳しくはこちら
マイストア マイストア 変更
  • 即日配送
  • 広告
  • 取置可能
  • 店頭受取

HOT ! ふじページ PYRAMID ZX-6R 1998-1999 Kawasaki Ninja Hugger Installation Guide

※FREEVIDEO.PL 限定モデル
YouTuberの皆様に商品の使い心地などをご紹介いただいております!
紹介動画はこちら

ネット販売
価格(税込)

14848

  • コメリカード番号登録、コメリカードでお支払いで
    コメリポイント : 0ポイント獲得

コメリポイントについて

購入個数を減らす
購入個数を増やす

お店で受け取る お店で受け取る
(送料無料)

受け取り店舗:

お店を選ぶ

近くの店舗を確認する

納期目安:

13時までに注文→17時までにご用意

17時までに注文→翌朝までにご用意

受け取り方法・送料について

カートに入れる

配送する 配送する

納期目安:

2026.02.24 3:39頃のお届け予定です。

決済方法が、クレジット、代金引換の場合に限ります。その他の決済方法の場合はこちらをご確認ください。

※土・日・祝日の注文の場合や在庫状況によって、商品のお届けにお時間をいただく場合がございます。

即日出荷条件について

受け取り方法・送料について

カートに入れる

欲しいものリストに追加

欲しいものリストに追加されました

ふじページ PYRAMID ZX-6R 1998-1999 Kawasaki Ninja Hugger Installation Guideの詳細情報

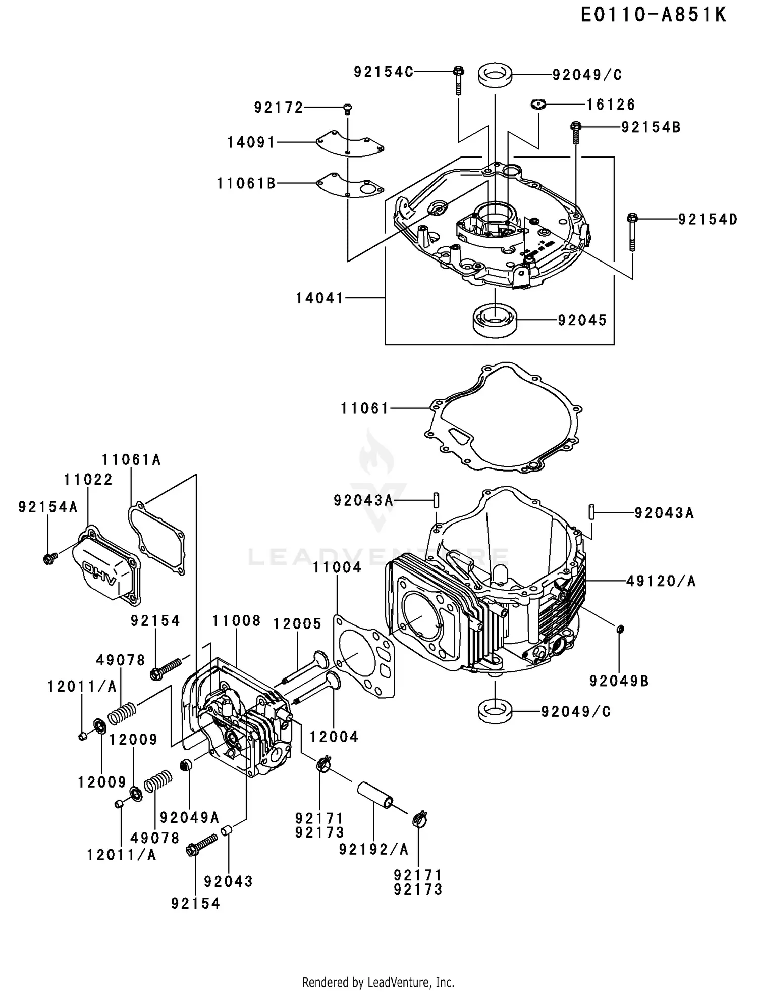
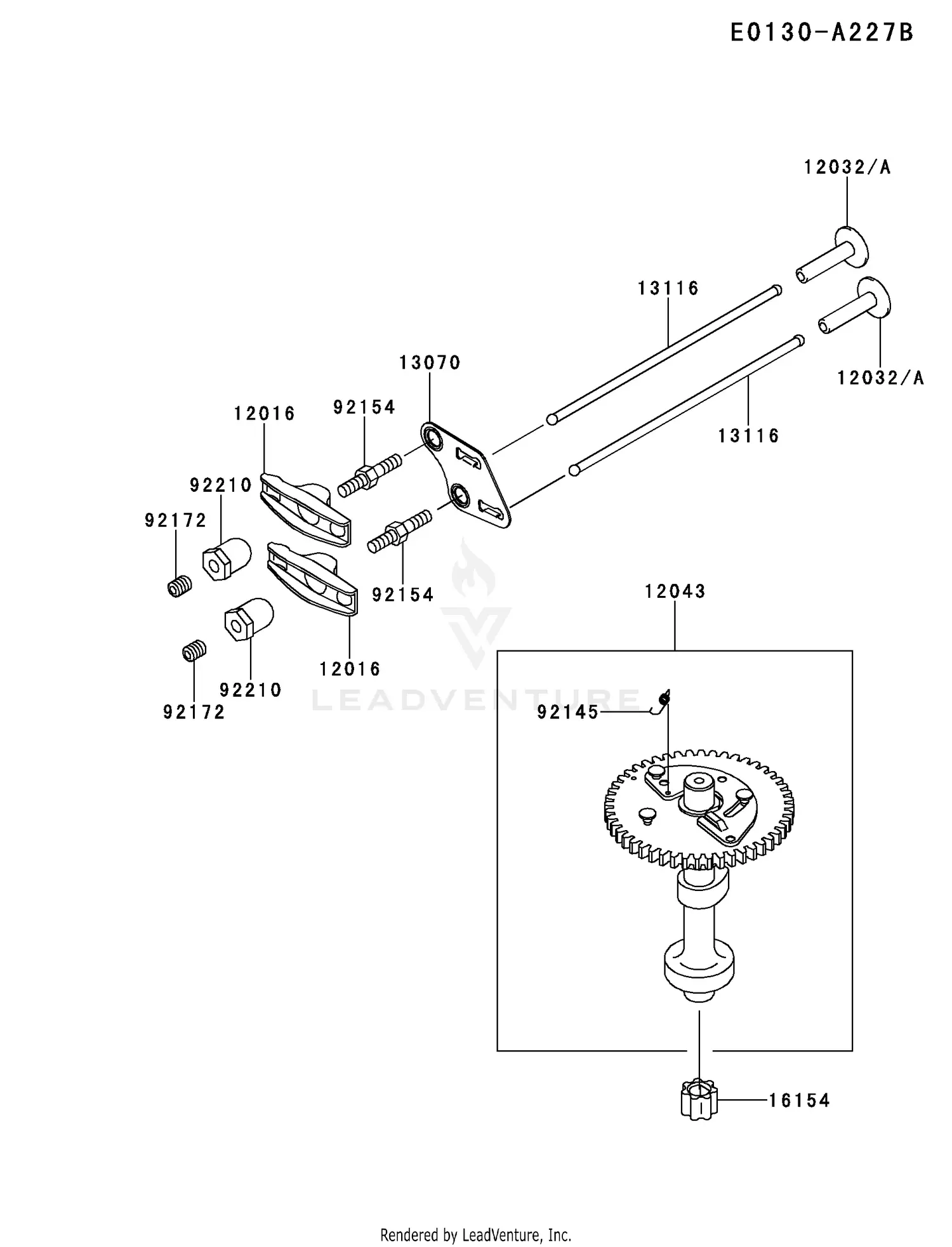
PYRAMID ZX-6R 1998-1999 Kawasaki Ninja Hugger Installation Guide。Kawasaki FJ180V-BM07 4 Stroke Engine FJ180V Parts Diagrams。楽天市場】深型レンジフード プロペラファン 間口(60cm/75cm/90cm。。ばぁうくん21Winterデフォ×50個数が多いため簡易梱包となります( . .)\"
  • PYRAMID ZX-6R 1998-1999 Kawasaki Ninja Hugger Installation Guide
  • Kawasaki FJ180V-BM07 4 Stroke Engine FJ180V Parts Diagrams
  • 楽天市場】深型レンジフード プロペラファン 間口(60cm/75cm/90cm

同じカテゴリの 商品を探す

ベストセラーランキングです

このカテゴリをもっと見る

この商品を見た人はこんな商品も見ています

近くの売り場の商品

このカテゴリをもっと見る

カスタマーレビュー

オススメ度  4点

現在、3220件のレビューが投稿されています。